효자 아이템의 탄생


  • 프로젝트명: 가평군 신천 공공하수처리시설 상등수 배출장치 모델 변경

  • 적용기술: BCS

  • 사업기간: 2015


MS 타입 상등수배출장치의 문제점

가축분뇨 처리시설에 적용하고 있는 BCS 공법은 미생물을 이용한 생물학적 처리기술인 SBR 계열의 공법입니다. SBS공정은 단일 반응조에서 유입, 반응(무산소/호기), 침전, 배출 등이 이뤄지기 때문에 상등수배출장치의 역할이 중요합니다.

초창기 우리는 타사가 제작한 MS타입의 상등수배출장치를 구매하여 BCS공법의 핵심 기자재로 BCS 반응조 내에 적용하고 있었습니다. 하지만 상등수를 배출하는 과정에서 수면에 형성되는 스컴층과 부유물질, 침전된 슬러지가 함께 배출되는 경우가 많아 해마다 1~2회 정도 고장을 일으키고 회당 천만 원 정도의 비용이 발생하는 등 지속적으로 수선비가 증가하고 처리수질이 악화되는 등의 문제가 발생했습니다.

가평군 신천 공공하수처리시설 전경

 
 

MS 타입 설치 자재 반입 전경

문제의 원인을 찾아 제거하라

우리는 반복적으로 문제를 일으키는 MS 타입의 상등수배출장치를 분석한 결과, 상등수배출장치의 부력을 유지하는 튜브가 찢어지거나, 공기압축기가 고장을 일으키거나, 동절기에 공기압축기 응축수로 인해 배관이 동파되는 등의 문제를 확인하였고, 이 모든 문제가 공기압축기 관련 설비 때문이라는 결론에 도달했습니다.

우리는 회의를 통해 모든 문제의 출발점인 공기압축기 관련 설비를 배제한 상등수배출장치를 개발하기로 하고 새로 개발할 배출장치의 전제조건을 정리했습니다. 첫째, 무동력일 것 둘째, 우리가 자체 제작할 것 셋째, 슬러지와 스컴이 배출되지 않아야 할 것 넷째, 내구성과 유연성이 좋아야 할 것 등입니다. 우리는 이와 같은 목표를 이루기 위해 여러 차례의 개발회의를 거쳐 지금의 EV 타입의 상등수배출장치를 개발할 수 있었습니다.


 

혁신은 문제해결 과정이다

V 타입의 상등수배출장치를 개발하며 가장 어려웠던 점은 주름관이었습니다. 장치 특성상 물 속에서 10년, 15년을 버텨야 하는데, 내구성이 우수하면서 배출장치의 움직임에 따라 유연성을 갖는 관을 찾을 수가 없었기 때문입니다. 그러나 전문가의 도움을 받아 알맞은 재질을 찾아 적용하게 되었고, 현재까지 주름관이 문제가 된 현장은 단 한 건도 없습니다.

주름관 문제를 해결하고 나니, 이번에는 몸통의 길이가 문제였습니다. 상등수배출장치는 침전 단계를 거친 후에 깨끗해진 상등액을 배출해야 하기 때문에 처리수질에 영향을 주지 않기 위해서는 침전된 슬러지가 같이 빨려 올라가지 않아야 하며, 위로는 스컴이 같이 빨려 들어가지 않아야 합니다. 저농도인 하/폐수에 적용하던 장치를 고농도인 가축분뇨에 적용할 경우 몸통이 너무 짧아 스컴이 계속 빨려 들어가는 현상이 일어났습니다. 우리는 여러 차례의 시행착오를 겪은 후에 하/폐수와 가축분뇨의 상등수배출장치는 구조는 같지만 그 몸체의 길이와 폭 등을 다르게 제작해야 한다는 사실을 알게 됐습니다.

상등수 배출장치 설치 및 점검 모습

주름관 체결상태 (개선 전)

EV 타입 상등수 배출장치

 

 

효자 아이템 탄생,
EV 타입 상등수 배출장치

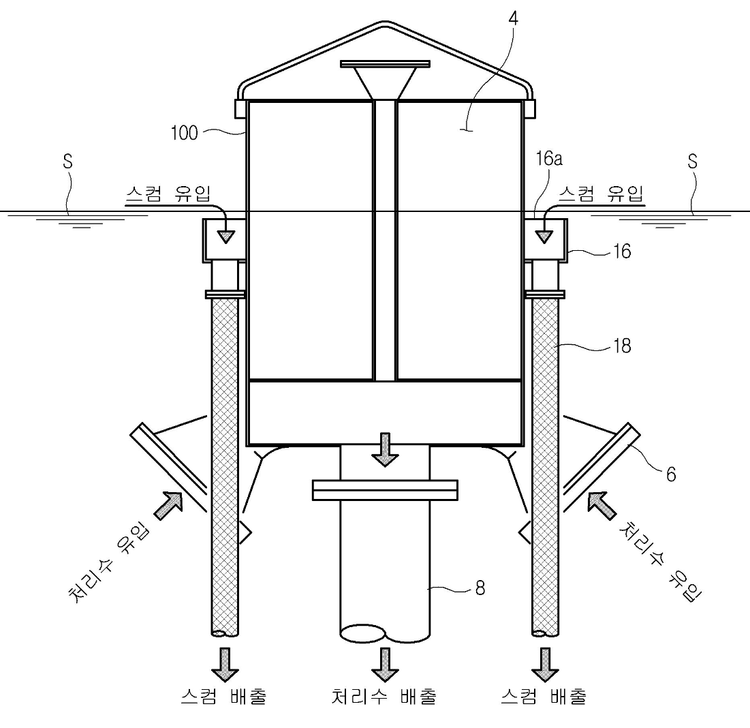
우리는 사이펀식 흡입 원리(특허 제 10-1651867호)를 적용한 상등수배출장치를 개발하고 특허 등록을 마쳤습니다. 반복되는 문제에 임기응변식으로 대응하기 보다는 문제의 원인을 철저하게 분석하고 근본적인 해결방안을 도출함으로써 결론적으로 EV타입의 상등수배출장치라는 효자 아이템 개발에 성공한 것입니다. 2015년경 경기도 가평균 신천 공공하수처리시설에서 MS타입의 상등수배출장치가 잦은 고장을 일으키면서 부대설비가 필요 없는 EV타입의 신규 상등수배출장치로 교체하여 사후 관리 포인트가 줄어들고 추가 매출로 이어지는 성과가 있었습니다. 현재는 초창기 MS타입의 상등수배출장치가 적용된 현장에서 지속적으로 A/S가 접수되고 있는 만큼 앞으로 추가 매출이 발생될 것으로 기대하고 있습니다.

수위에 따른 기자재 상태

 

특허 제 10-1651867호 - 스컴 및 상징수 배출장치

 




Brochure & Media

 
Previous
Previous

볼트 하나가 준 교훈

Next
Next

준공 취소에서 위탁 운영까지